Datenanzeige

Wonach suchen Sie?


Start
Analogschaltkreise
Digitalschaltkreise
Mikrorechner/Speicher
Transistoren
Diode/Thyr./Triac
Optoelektronik
Sonstiges

Weitere Tabellen
Datenbücher
Sockelschaltungen
Kompatibel
Preislisten
Fehler melden


elektronikbastelkiste.de

Mach doch wie Du willst


;
Datenwartung

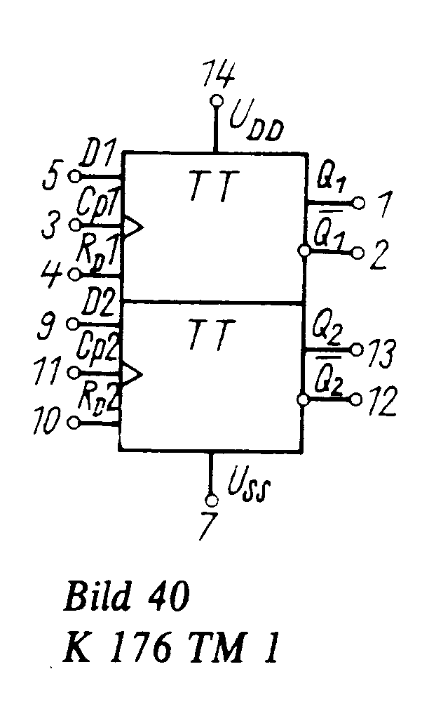
K 176 TM 1 (K 176 TM 1)

2x D-Flip-Flop (4003)

Hersteller:

Mashpriboringtorg, Moskva (Maшпpигopинтopг, Mocквa), UdSSR

Bauform:

Betriebsspannung:

3.00 - 18.00 V

Zugriffszeit:

200.0 ns

Kompatibel:

CD 4003 E -

Amazon

Google


Typen in Klammern sind ähnlich!

DDR-Preise in Mark

Originaltype
Industrierückkauf

Typ

EVP Gruppe 1
IAP Gruppe 1
EVP Gruppe 2
IAP Gruppe 2

K 176 TM 1

3.10
2.30
1.85
1.37

Datenblatt:

1986 - Elektronisches Jahrbuch


Datenblatt anzeigen

Es werden maximal zwei Datenquellen angegeben, obwohl z.T. mehr verwendet wurden!

Daten veröffentlicht: 1984 (Wenn nicht sicher, Jahr der ersten Veröffentlichung!)

Letzte Bearbeitung: 09.09.2024 / 08:53:41