Datenanzeige

Wonach suchen Sie?


Start
Analogschaltkreise
Digitalschaltkreise
Mikrorechner/Speicher
Transistoren
Diode/Thyr./Triac
Optoelektronik
Sonstiges

Weitere Tabellen
Datenbücher
Sockelschaltungen
Kompatibel
Preislisten
Fehler melden


elektronikbastelkiste.de

Schön weich unter den Füßen.


;
Datenwartung

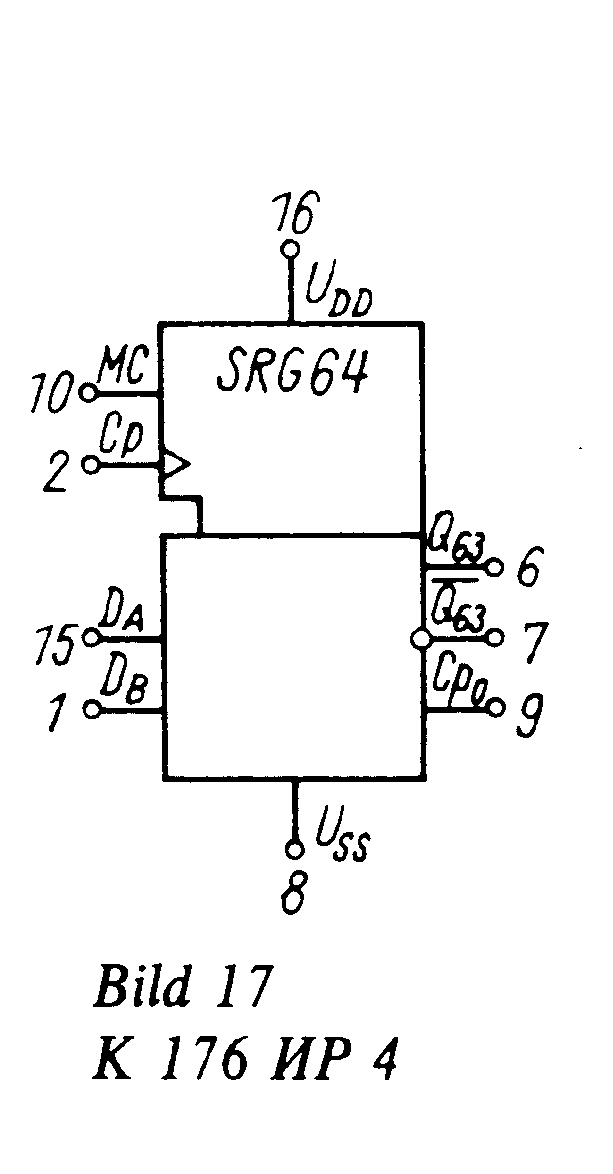
K 176 IR 4 (K 176 ИP 4)

Statisches 64-Bit-Schieberegister (4031)

Hersteller:

Mashpriboringtorg, Moskva (Maшпpигopинтopг, Mocквa), UdSSR

Bauform:

Betriebsspannung:

3.00 - 15.00 V

Zugriffszeit:

200.0 ns

Kompatibel:

CD 4031 E -

Amazon

Google


Typen in Klammern sind ähnlich!

Datenblatt:

1986 - Elektronisches Jahrbuch


Datenblatt anzeigen

Es werden maximal zwei Datenquellen angegeben, obwohl z.T. mehr verwendet wurden!

Daten veröffentlicht: 1984 (Wenn nicht sicher, Jahr der ersten Veröffentlichung!)

Letzte Bearbeitung: 08.09.2024 / 09:11:40