Datenanzeige

Wonach suchen Sie?


Start
Analogschaltkreise
Digitalschaltkreise
Mikrorechner/Speicher
Transistoren
Diode/Thyr./Triac
Optoelektronik
Sonstiges

Weitere Tabellen
Datenbücher
Sockelschaltungen
Kompatibel
Preislisten
Fehler melden


elektronikbastelkiste.de

Nur Blitzgeräte - kein Gewitter


;
Datenwartung

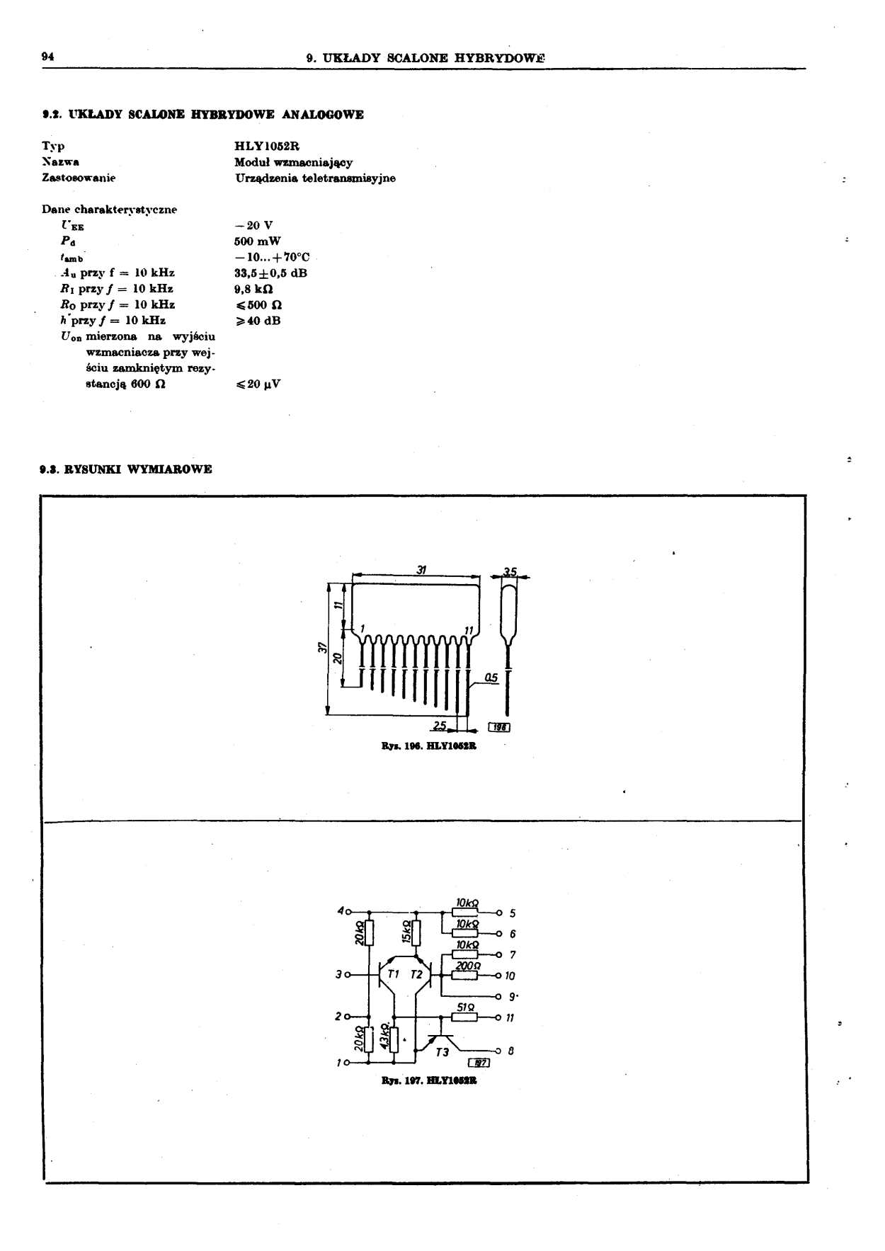
HLY 1052 R

Hybrid-Baustein Verstärkermodul

Hersteller:

Unitra Cemi, VR Polen, Polen

Bauform:

Kompatibel:


Typen in Klammern sind ähnlich!

Datenblatt:

1979 - Katalog Unitra


Datenblatt anzeigen

Es werden maximal zwei Datenquellen angegeben, obwohl z.T. mehr verwendet wurden!

Daten veröffentlicht: 1979 (Wenn nicht sicher, Jahr der ersten Veröffentlichung!)

Letzte Bearbeitung: 07.04.2025 / 09:12:19