Datenanzeige

Wonach suchen Sie?


Start
Analogschaltkreise
Digitalschaltkreise
Mikrorechner/Speicher
Transistoren
Diode/Thyr./Triac
Optoelektronik
Sonstiges

Weitere Tabellen
Datenbücher
Sockelschaltungen
Kompatibel
Preislisten

Fehler melden


elektronikbastelkiste.de

Mach doch wie Du willst


;
Datenwartung

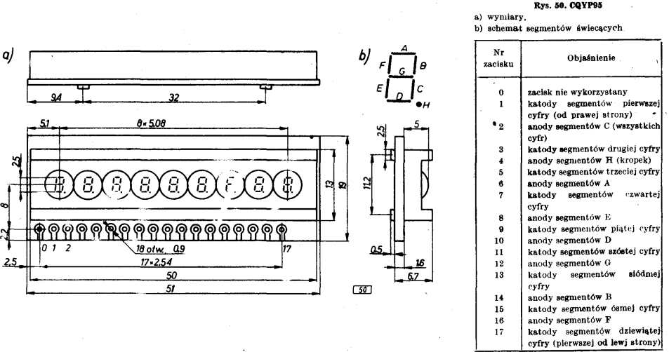
CQYP 95

Siebensegmentanzeige für Taschenrechner

Hersteller:

Unitra Cemi, VR Polen, Polen

Bauform:

Durchlassgleichspannung:

3.00 V

Durchlassgleichstrom:

3.00 mA

Kompatibel:

5082-7740 - Hewlett Packard, USA

Amazon

Google


Typen in Klammern sind ähnlich!

Datenblatt:

1979 - Katalog Unitra


Datenblatt anzeigen

Datenblatt:

1982 - Katalog Unitra


Datenblatt anzeigen

Es werden maximal zwei Datenquellen angegeben, obwohl z.T. mehr verwendet wurden!

Daten veröffentlicht: 1979 (Wenn nicht sicher, Jahr der ersten Veröffentlichung!)

Letzte Bearbeitung: 22.04.2025 / 10:12:57